- BioVector NTCC典型培养物保藏中心
- 联系人:Dr.Xu, Biovector NTCC Inc.
电话:400-800-2947 工作微信:1843439339 (QQ同号)
邮件:Biovector@163.com
手机:18901268599
地址:北京
- 已注册
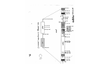
Full plasmid sequence is available only if provided by the depositing laboratory. These plasmids were created by your colleagues. Please acknowledge the Principal Investigator, cite the article in which the plasmids were described, and include Addgene in the Materials and Methods of your future publications. For your Materials & Methods section:pWZL Hygro
(BioVector-018750)
BACKBONE
GROWTH IN BACTERIA
SEQUENCE INFORMATION
GENE/INSERT
CLONING INFORMATION
RESOURCE INFORMATION
您正在向 biovector.net 发送关于产品 pWZL Hygro逆病毒载体质粒图谱序列抗性 的询问
- 公告/新闻





